炭黑產業網(m.foshanyide.com)訊,眾所周知,生產工藝不同,生產的炭黑產品品質也就有所差異。今天我們來看一種炭黑——天然氣半補強炭黑。具體看一下炭黑用途|它能有什么作用以及應用。

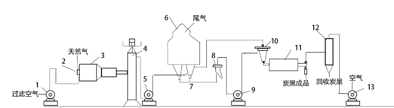
天然氣半補強爐法炭黑生產工藝流程
1-鼓風機 2-火嘴箱 3-反應爐 4-冷卻塔 5-排風扇 6-袋濾器
7-收集器 8-篩選機 9-精制風機 10-風送旋風分離器
11-造粒機 12-吸塵袋濾器 13-排風機
天然氣半補強炭黑又被成為氣爐法半補強炭黑,是一種以天然氣為原料與一定比例空氣混合進入1 250~1 350℃反應爐內部分燃燒、裂解制得的炭黑。而且是半補強炭黑的主要品種。但是由于其原料消耗和綜合能耗都比較高,目前很少生產,但我國仍然保留著每年約3~4萬噸的氣爐法碳黑生產。
天然氣半補強炭黑可以用來作為環保型產品的生產原料,特別是那種直接接觸皮膚類產品的橡膠工業的原料,而且在橡膠生產過程中作為添加劑,能夠使得橡膠制品生產率高、彈性好、抗老化性能和補強性能很大提高。
這種炭黑多用于輪胎胎體的緩沖層和簾布層膠料、膠管、壓出制品、各種工業橡膠制品以及電線電纜等領域。
以上就是炭黑用途|天然氣半補強炭黑的相關內容。關注炭黑產業網了解更多炭黑相關內容!
推薦閱讀:























